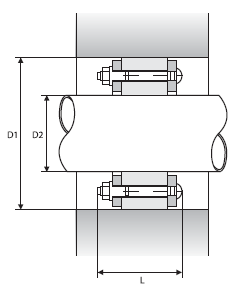
Karakteristike proizvoda
- Masivna pocinčana prirubnica
- Matice i podlošci od nehrđajućeg čelika
- Vijci čvrstoće 8,8 - pričvršćeni i zavareni na prirubnicu
- Široka brtva izrađena od izdržljivog EPDM materijala
- Oznaka na svakom elementu s promjerom otvora i cijevi




